
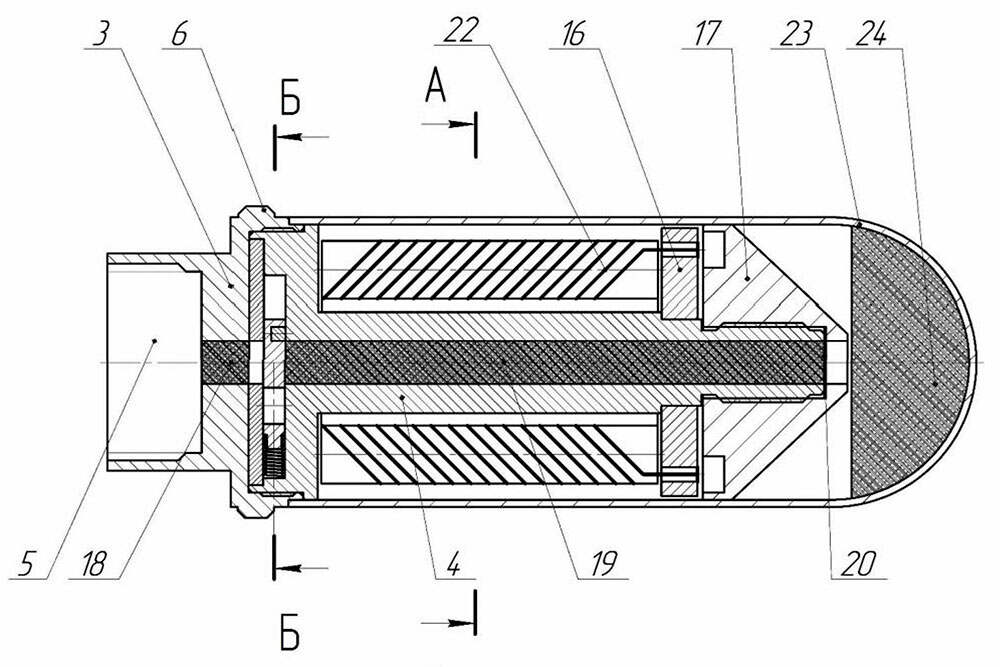
❗️⚡️Боеприпас для поражения БПЛА из подствольного гранатомета усовершенствовали
В Новосибирском государственном техническом университете модернизировали конструкцию боеприпаса для подствольных гранатометов, предназначенного для поражения низколетящих БПЛА, следует из документации на сайте ФИПС.... Далее






